– ročna hidravlična črpalka z dvojnim delovanjem
– vrtljivi kavelj z varovalko
– preobremenitveni ventil
– zložljiva zasnova, mobilna na 4 kolesih
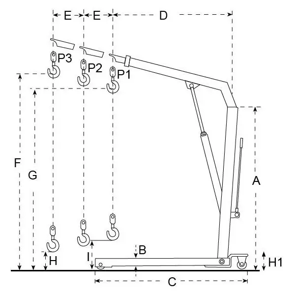
– najmanjša višina kavelja na ravni tal
– preskusna obremenitev 125 % nazivne nosilnosti
– 3-pozicijska teleskopska roka
– stabilna široka podlaga
– CE oznaka, standard EN 13155







